高端装备制造
自适应限位力矩扭簧磁流变阻尼器
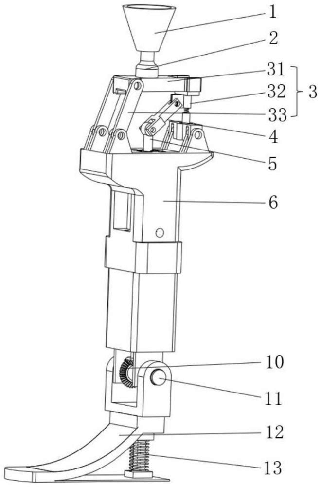
本实用新型提供一种自适应限位力矩扭簧磁流变阻尼器,本实用新型包括:阻尼器、电机驱动器、扭簧、弹射器;所述阻尼器的阻尼器外壳与传动轴通过滑动轴承形成过渡配合;所述电机驱动器的励磁线圈与直流电机的电源相连,穿过线圈通道,与电机控制模块连接;所述扭簧固定在两个阻尼盘之间,外侧凹槽与弹射装置通过弹射器固定;所述弹射器通过电机控制模块调节电机使弹射器顶帽与弹簧相互配合上下移动。本实用新型的目的在于提供一种自适应限位力矩扭簧磁流变阻尼器,通过电机控制模块自动激发弹射器,使此阻尼器可以仅靠扭簧的扭矩进行限位,也可使扭簧充当一个搅拌器,既可实现对外部负载变化的实时响应,同时可以有效防止磁流变液的沉降问题。通过扭簧和磁流变液的综合作用,该阻尼器能够在不同工况下保持高效、稳定的性能,确保装置在快速变化的负载条件下具有优异的响应能力和稳定性。
长春工业大学
实用新型