高端装备制造
一种小型多口径非开挖装置的纠偏装置
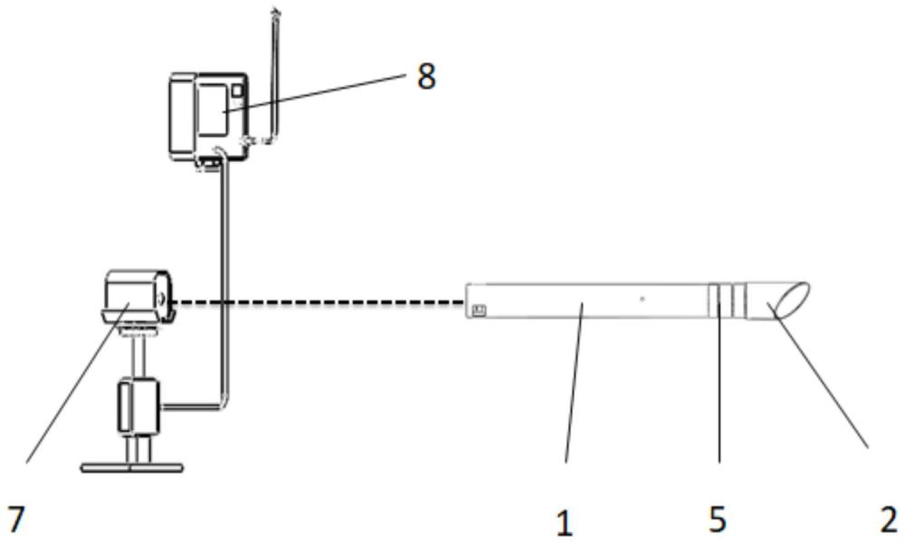
本实用新型公开了一种小型多口径非开挖装置的纠偏装置,涉及非开挖技术领域,该装置包括先导钻杆、先行导向装置、CCD相机、计算机显示器。其中,先行导向装置包括先导钻头、光源组件等,先导钻头为倾斜状结构,光源组件装有半导体激光器;先导钻杆为中空结构,非开挖掘进工作时半导体激光器发出激光,通过接驳的先导钻杆的中空通道投射在后方的激光标靶上形成光斑,并通过CCD相机对图像进行接收、处理,在计算机对光斑的位置进行处理并判断掘进轨迹是否发生偏移,如果发生偏移可通过非开挖装置的驱动系统对先导钻杆旋转、顶进,使先导钻杆的行驶轨迹发生改变,实现钻杆轨迹的纠偏,近而实现小型多口径非开挖装置的轨迹纠偏。
长春工业大学
实用新型