高端装备制造
3D打印零部件的后处理喷丸装置及其工作方法
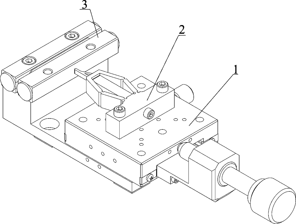
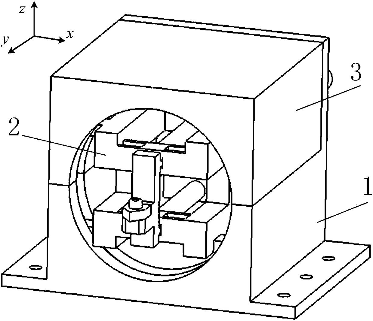
3D打印零部件的后处理喷丸装置及其工作方法,属于3D打印的后处理技术领域,装置包括气泵装置、喷丸工作装置、加热处理装置、零部件后处理装置以及支架支撑装置,方法分为五个步骤。本发明实现了3D打印零部件后处理过程的自动化,不仅减轻了劳动力,而且提高了3D打印零部件后处理的效率,节省了大量时间。本发明以自动化喷射高温玻璃珠的方式取代了人工表面抛光来处理3D打印零部件的方式,使零部件的表面粗糙度减小,强度增大,并且降低了危险性。使用本发明抛光后,器件各处亮度系数保持均匀,不易留下水印。本发明是在传统的铝合金喷丸机设备上添加新结构改进设计的,改造加工成本低,制造过程和工艺流程的继承性好。
长春工业大学
授权发明