高端装备制造
一种用于双光子聚合加工的三维椭圆运动工作台
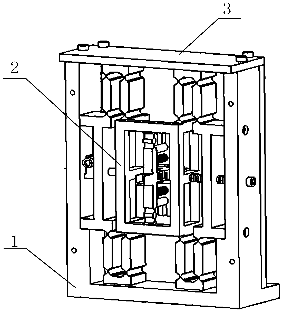
本发明涉及一种用于双光子聚合加工的三维椭圆运动工作台,属于超精密加工领域。由X向、Y向、Z向三个压电叠堆驱动具有柔性铰链结构的工作台,可实现X、Y、Z三个方向的微动,三个压电叠堆分别由预紧螺钉进行预紧,工作台的各个方向由单独的压电叠堆驱动,避免了其他方向运动对该驱动方向的扰动;对三个压电叠堆通以频率相同而相位差不为零的驱动信号,可以实现工作台在空间的二维椭圆运动或三维椭圆运动,通过控制椭圆运动参数,可调整椭圆的方位和大小,工作台X向、Y向的柔性铰链采用直梁式铰链首尾相连组合而成;本发明涉及的工作台加工简单,体积较小且有较好的载物空间,可实现高频、连续的三维椭圆运动。
长春工业大学
授权发明