高端装备制造
一种振动旋转切削装置及其在位颤振辨识方法
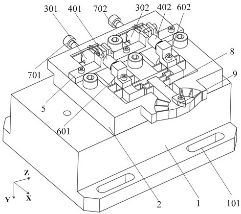
本发明提出了一种振动旋转切削装置及其在位颤振辨识方法。其中振动旋转切削装置的主要特征如下:平行放置的两个压电驱动器通过输入具有一定相位差的驱动信号,驱动位于柔性装置平台上的前推平台,带动刀具基座绕刀尖点转动,从而金刚石刀具就可以产生高频振动旋转轨迹进行加工。此时,力传感器和电容式位移传感器分别采集切削合力和振动位移信号,对本发明装置的切削过程进行在位颤振辨识。在位颤振辨识方法主要分为初步辨识和经验模态分解,傅里叶变换得到两组信号的幅值谱,分别从时域和频域对切削状态进行初步划分;经验模态分解得到本征模函数,提取均方频率和自相关函数关于时间的分布图像,根据颤振辨识准则得到正确辨识的结果。
长春工业大学
授权发明