高端装备制造
一种具有双峰分布特征的TiAl混晶结构合金及制法
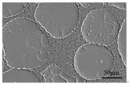
本发明提供一种具有双峰分布特征的TiAl混晶结构合金及制法,制备的具有双峰分布特征的TiAl混晶结构合金是通过高能球磨结合热压烧结技术得到的,实现了双峰TiAl合金的有效、可控制备。其特点是高温力学强度较高,抗氧化性能较好,具有良好组织结构的TiAl基合金。且本发明制备的具有双峰分布特征的TiAl混晶结构合金具有微细晶粒γ+α2/γ双态组织和粗晶粒单相γ组织,在950℃,应变速率为2×10‑4s‑1时压缩强度为可达到达到300Mpa~350Mpa。本发明提供一种具有双峰分布特征的TiAl混晶结构合金可用于制造发动机部件、框架、飞机转子、涡轮机叶片及汽车排气阀等部件,是替代镍基高温合金的理想轻质结构材料之一。
长春工业大学
授权发明