高端装备制造
一种电磁可控式柔性驱动装置及其控制方法
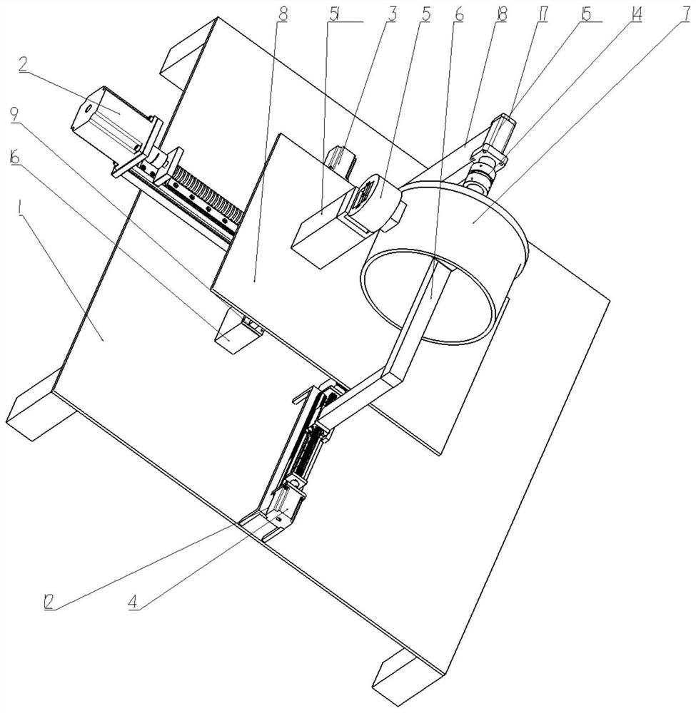
本发明公开了一种电磁可控式柔性驱动装置及其控制方法,属于机器人柔性驱动技术领域,包括:驱动机构、往复机构、电磁柔性机构、电源以及中央控制器;所述驱动机构主要由驱动电机和减速器组成,所述往复机构包括:支撑框架、滑动套筒和丝杆;所述电磁柔性机构包括:外壳、磁芯推杆、线圈、压力传感器和底座,所述电源分别与中央控制器、线圈、压力传感器和驱动电机电连接。本发明公开了一种电磁可控式柔性驱动装置及其控制方法,通过磁芯推杆在通电线圈产生的感应磁场中受力提供弹力,通过控制器调节线圈电流,实现对电磁柔性机构的弹性系数的实时控制。与已知的柔性驱动相比,具有结构紧凑可靠、可调节范围广、调节方式灵活等特点。
长春工业大学
授权发明