双五星
蜜蜂精液自动混匀装置和蜜蜂精液自动混匀及储存系统
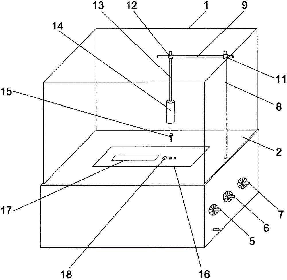
本发明公开了一种蜜蜂精液自动混匀装置和蜜蜂精液自动混匀及储存系统,涉及蜜蜂育种技术领域。该蜜蜂精液自动混匀装置包括支撑臂、连接臂、悬臂、转动部及搅拌部。连接臂的一端活动设置在支撑臂的顶部,连接臂能够在支撑臂上移动;悬臂的一端活动设置在连接臂的另一端,悬臂能够在连接臂上移动;转动部设置在悬臂的另一端;搅拌部设置在转动部上,搅拌部能够在转动部的带动下转动;搅拌部的形状为螺旋状。本发明的蜜蜂精液自动混匀装置,减少了对蜜蜂精子的损伤,将蜜蜂精液混合得更加均匀,提高了混合效率,提升了授精效果,提高蜜蜂保种的质量和效率。
吉林省养蜂科学研究所
授权发明